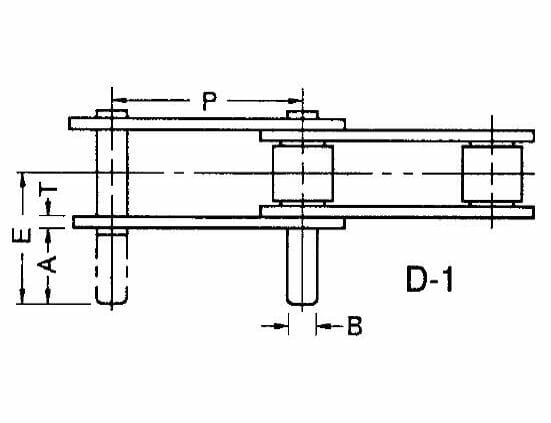
C2040R D-1 / C2042R D-1 – ANSI Standard Double Pitch Roller Chain D-1 Attachment

Add To Favorite Products List Add To Favorite Products List
Add To Favorite Products List
After adding products to your quote inquiry, you'll complete a simple form and be able to request a quote for the products specified