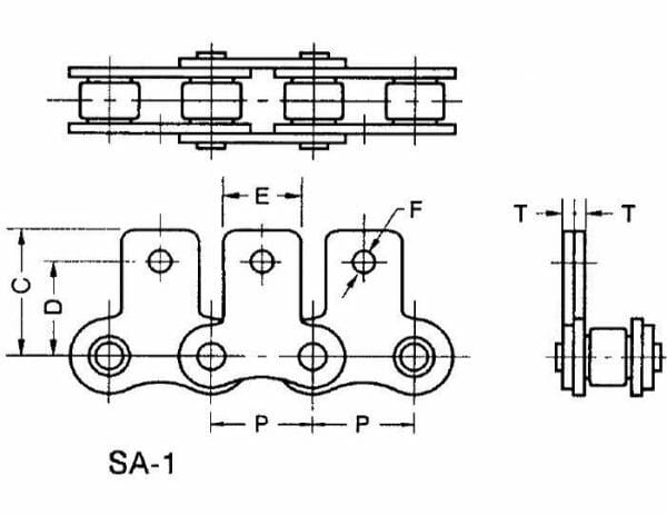
10BR SA-1 – ISO British Standard Chain – SA-1 Attachment
10BR SA-1 – ISO British Standard Chain – SA-1 Attachment
Add To Favorite Products List Add To Favorite Products List
SKU: 10BR SA-1
Categories: Agricultural Machinery Chains, Conveyor Chains, Food Industry Chains, ISO British (Metric) Standard Roller Chain, ISO British Standard Roller Chain With Attachments, Roller Chain






